'애플 카'는 앞 유리 헤드 업 디스플레이에 AR을 사용할 수 있다
"Apple Car"의 앞 유리는 운전자에게 차선 제어, 위험 회피 및 기타 가려진 환경 세부 사항을위한 증강 현실보기를 제공 할 수 있습니다.
Apple은 이전에 HUD (헤드 업 디스플레이)가 "Apple Car"앞 유리에 정보를 표시하는 방법을 연구 해 왔습니다. 이제 그 정보가 무엇인지, 정확히 언제 표시해야하는지 조사하고 있습니다.
"구역 식별 및 표시 시스템"은
"> 새로 부여 된 특허
처음에는 Apple AR을 사용한 속도 및 차선 제어와 관련이 있습니다.
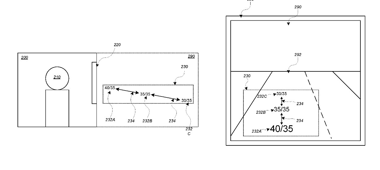
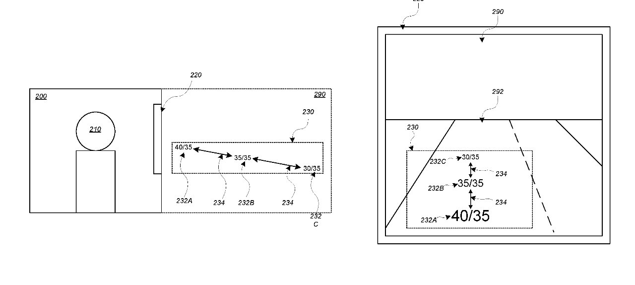
"증강 현실 디스플레이에는 차량 속도 표시기가 포함될 수 있습니다."라고 특허는 말합니다. 하지만 윈드 스크린 모서리에있는 Apple Maps 스타일의 속도 아이콘 이상으로이 표시기는 "현지 속도 제한과 관련된 차량 속도에 따라 공간적으로 배치"될 수 있습니다.
현재 특정 국가에서 Siri는 과속 단속 카메라에 접근하면 경고를 표시하고 제한을 초과하는지 여부에 따라 약간 다른 메시지를 제공합니다. 지역 제한을 초과 할 때 "속도를 조심하세요"라고 표시되는 경우 HUD는 잠재적으로 속도 표시기를 더 눈에 띄게 만들 수 있습니다.
AppleInsider TV의 최신 정보보기
중요한 정보를 확인하고주의를 기울이기위한 경우 특허는 볼 수없는 세부 사항과도 관련이 있습니다. "증강 현실 디스플레이는 직접적인 인식에서 가려진 환경 물체의 위치를 나타내는 디스플레이 요소를 포함 할 수 있습니다."
따라서 트럭이 진입로를 볼 수 없거나 도로 표지판을 읽을 수 없음을 의미하는 올바른 위치에 HUD가 AR을 사용하여 어쨌든 표시 할 수 있습니다.
특허의 대부분은 운전자를 돕는 방법에 관한 것이지만 무인 내비게이션을 다루는 요소가 있습니다. "일부 실시 예에서, [차량 내비게이션 시스템 (VNS)]은 하나 이상의 차량 제어 요소를 자율적으로 제어하여 차량이 환경을 통해 하나 이상의 주행 경로를 따라 자율적으로 내비게이션하도록 할 수 있습니다.

무인 내비게이션이든 "차량의 한 명 이상의 탑승자에게 정보를 표시"하는 데 도움이 되든이 VNS에는 "외부 환경의 하나 이상의 부분에 대한 센서 데이터 표현을 생성하는"외부 센서가 필요합니다.
자동차는 정확한 위치의 AR을 제공하는 데 필요한 정보 또는 "세계 모델을 생성하고 유지합니다." 그리고 "적어도 부분적으로는 하나 이상의 통신 네트워크를 통해 원격 서비스, 시스템, 장치 등에서받은 정보에 따라"그렇게합니다.
이 특허는 Karlin Y. Bark를 포함하여 세 명의 발명가에게 인정되었습니다. Bark의 이전 특허에는 제스처를 감지하는 AirPod를 만드는 특허가 포함됩니다.
HomePod에서 바로 모든 Apple 뉴스를 확인하십시오. "Siri 야, AppleInsider 재생"이라고 말하면 최신 AppleInsider Podcast를받을 수 있습니다. 또는 HomePod mini에 "AppleInsider Daily"를 요청하면 뉴스 팀에서 직접 빠른 업데이트를들을 수 있습니다. Apple 중심의 홈 자동화에 관심이있는 경우 "Siri 야, HomeKit Insider 재생"이라고 말하면 최신 전문 팟 캐스트를 곧들을 수 있습니다.
'appleCAR.co.kr 애플카' 카테고리의 다른 글
| 애플 전기차 프로젝트 (0) | 2021.08.14 |
|---|---|
| Apple Car는 좌석 아래에서 분실 한 iPhone을 찾는 데 도움이 될 수 있습니다 (0) | 2021.05.12 |
| Didi Chuxing 투자 / Apple의 자동 관련 도메인 / 출시일 / Apple Car 타임 라인 (0) | 2021.05.12 |
| 비밀 본부 (0) | 2021.05.12 |
| 채용 노력 (0) | 2021.05.12 |